Гибкие производственные модули
Гибкий производственный модуль представляет собой единицу технологического оборудования для обработки деталей произвольной номенклатуры в установленных пределах значений их характеристик, оснащенную системой программного управления, функционирующую автономно и автоматически осуществляющую все функции. Обеспечивается возможность встраивания модуля в гибкую производственную систему. К гибким производственным модулям предъявляется требование работы без участия обслуживающего персонала (в режиме безлюдной технологии) в течение одной – двух смен непрерывно.
В гибком производственном модуле предусматривают ряд подсистем: транспортирования; загрузки и выгрузки деталей; накопления и смены режущих инструментов и технологической оснастки; контроля состояния инструментов; контроля качества обработанных деталей; автоматизированного диагностирования; адаптации к условиям обработки; внутренний накопитель обрабатываемых деталей и др. Все подсистемы модуля объединены системой микропроцессорного управления. Таким образом, гибкий производственный модуль представляет собой станок с ЧПУ, оснащенный дополнительными техническими средствами. Существуют гибкие модули для токарной обработки, нарезания зубчатых колес, абразивной обработки, фрезерно-сверлильно-расточные и др.
В состав типового токарного модуля входят: токарный станок с револьверной головкой; инструментальный магазин (с запасом до 30 инструментов) ; механизм для автоматической смены инструментов; накопитель обрабатываемых деталей, например в виде тактового стола; система распознавания заготовок путем их измерения и сравнения размеров с размерами заготовок, введенными в память устройства ЧПУ (в нем могут храниться описания нескольких десятков различных заготовок) ; магазин сменных комплектов кулачков или сменных патронов (хранится до 15 комплектов кулачков); загрузочная система, которая производит не только смену обрабатываемых Деталей, но и кулачков, поддонов, захватов; система автоматического измерения обработанной детали и ввода коррекции в программу (при обработке деталей мелкими и средними партиями измерение производится в рабочей зоне, крупными партиями —вне станка на контрольно-измерительной машине) ; система контроля режущего инструмента, выдающая команду на его смену при достижении предельного износа или при поломке.
Станок, входящий в состав модуля, существенно отличается от обычных станков с ЧПУ. Шпиндель может фиксироваться автоматически после поворота на каждый градус или на несколько градусов. В револьверной головке имеется несколько вращающихся шпинделей. Благодаря этому выполняются не только токарная обработка, но также фрезерование и сверление радиальных отверстий. Задняя бабка управляется полностью по программе. Система ЧПУ обеспечивает быструю переналадку оборудования при обработке малых партий деталей, оптимальные режимы резания, автоматическую подналадку.
Шлифовальные гибкие производственные модули строят по модульному принципу по типу кругло-, плоско- и внутришлифовальных станков. Конструкция станка должна быть приспособлена к изменяющимся условиям производства. Станина изготовляется из специального виброгасящего чугуна или из синтетического материала с высоким декрементом затухания. Она должна сохранять геометрическую точность в течение длительного времени, быть устойчивой к термическим деформациям. Для автоматической смены шлифовальных кругов бабка кругло- и внутришлифовальных станков выполняется в виде трех- или четырехшпиндельной револьверной головки с бесступенчатым приводом вращения шпинделей, шлифовальные шпиндели оснащаются быстросменными оправками, Оправки и круги хранятся в магазине на 12— 18 инструментов. Конструкция передней бабки обеспечивает технологическую гибкость станка. Благодаря ее повороту на определенный угол обрабатываются конические и развитые торцовые поверхности. При применении передней бабки с приводом продольных перемещений можно автоматизировать цикл переналадки станка на обработку различных по длине деталей. Станки оснащают автоматическими устройствами правки и балансировки шлифовального круга. В состав модуля входит загрузочное устройство для автоматической смены обрабатываемых деталей и шлифовальных кругов.
РЕВОЛЬВЕРНЫЕ ГОЛОВКИ
Общие сведения. В револьверной головке помещают несколько инструментальных шпинделей или инструментов. Смена инструментов на рабочей позиции станка осуществляется путем ее поворота- Револьверные головки могут иметь 4, 5,6, 12,16 позиций (граней).
Достоинства револьверных головок: простота конструкции, небольшие затраты времени на смену инструмента (2…3 с). Их недостатки: небольшое число размещаемых инструментов, недостаточная жесткость, относительно низкая точность коротких шпинделей.
Револьверными головками оснащают токарные автоматы, агрегатные станки, токарные, вертикально-сверлильные и вертикально-фрезерные станки с ЧПУ.
Типы револьверных головок. Инструменты, закрепленные непосредственно в револьверной головке (резцы, сверла и др.) , в процессе обработки детали вращения не получают. Инструментальный шпиндель, находящийся на рабочей позиции головки, приводится во вращение, а резьбонарезной также и реверсируется.
Оси инструментов могут быть направлены радиально (рис. 13.9, а), параллельно оси головки (рис. 13.9, б), под углом к ней (рис. 13.9, в). В последнем случае число позиций в головке может быть увеличено, так как расположение инструментов, соседних по отношению к находящемуся в рабочей позиции, позволяет увеличить длину рабочего хода головки. В револьверных головках станков типа ‘гибкий модуль” инструменты устанавливаются как в радиальном направлении, так и в осевом.

.
Применяются комбинации двух револьверных головок, которые могут быть расположены концентрично (рис. 13.10, а) или эксцентрично (рис. 13.10, б) . В одной из них устанавливают резцы, в другой — стержневые инструменты и борштанги. Это позволяет увеличить концентрацию операций на станке.
Эта же цель достигается путем размещения двух револьверных головок на одном корпусе, на двух отдельных корпусах, находящихся на одних салазках, или на разных салазках. При большом числе стыков жесткость револьверной головки снижается.
Механизмы делительного вращательного движения. Для поворота револьверной головки применяются электрический, гидравлический, пневматический источники энергии и их комбинации. В состав привода поворота могут входить: двигатель (электрический, гидравлический, пневматический), передаточный механизм (зубчатая или червячная передача) и делительный механизм (кулачковый, мальтийский, зубчато-рычажный в сочетании с гидроцилиндром. Делительные механизмы обеспечивают поворот револьверной головки на определенный постоянный угол и обычно применяются в станках, работающих по жесткой программе в массовом производстве. В станках с ЧПУ при необходимости поворота револьверной головки на различные углы, задаваемые программой, и вращения без остановок в промежуточных позициях применяются механизмы с управляемым жестким упором ударного действия или с упором, вводимым в гнездо; упоры могут одновременно служить фиксаторами. В револьверных головках современной конструкции механические преобразователи движения заменяют управляемым электрическим приводом, осуществляющим также торможение поворотного устройства.
Часто используется метод позиционирования, состоящий в том, что исполнительный орган с замедлением перебегает позицию фиксации, а затем выходит на эту позицию при обратном вращении головки с малой скоростью. При применении регулируемого электропривода используют улучшенный трапецеидальный закон изменения скорости, оптимизируя работу механизма поворота на этапах разгона и торможения.
Механизмы фиксации. Эти механизмы обеспечивают необходимую точность позиционирования и жесткость головки под нагрузкой.
Механизмы одинарной фиксации допускают относительно большую погрешность индексации. Для ее снижения фиксатор располагают на возможно большем расстоянии от оси поворота головки.
Для фиксации револьверных головок и поворотных столов станков с ЧПУ применяют зубчатые торцовые муфты. Муфту образуют две полумуфты с зубчатыми венцами, которые представляют собой плоские конические колеса с прямыми или круговыми зубьями. Высота прямых зубьев изменяется вдоль радиуса колеса (рис. 13.11), их поперечное сечение совпадает с профилем зубьев рейки при
. Круговые зубья имеют постоянную высоту (рис. 13.12), на одной полумуфте они выпуклы, на другой вогнуты. Угол профиля составляет 2O…450. Зубья контактируют по всей длине. Муфты с прямыми зубьями более технологичны, с круговыми зубьями более жестки.
Одна полумуфта закреплена на неподвижном корпусе, другая — на поворотной части револьверной головки. Перед поворотом головка расфиксируется путем отвода ее от корпуса.
Благодаря увеличению числа отдельных фиксирующих пар и усреднению погрешностей деления механизм обладает повышенной точностью. Его недостатки: потери времени на разъединение венцов, возможность всасывания пыли при уменьшении давления внутри механизма отвода поворотной части головки.
Механизм фиксации, состоящий из трех зубчатых венцов (рис. 13.13), работает следующим образом. Подъем венца 1 приводит к расфиксации головки. Затем происходит поворот головки вместе с зубчатым венцом 2. После опускания венец 1 зацепляется с венцами 2 и 3, и происходит фиксация поворотного устройства. Этот механизм обладает следующими преимуществами: устранено всасывание обычно запыленного воздуха в его внутреннюю полость, уменьшено время на фиксацию и расфиксацию благодаря снижению массы поднимаемого узла. Однако по сравнению с механизмом, состоящим из двух венцов, он имеет пониженную жесткость, обусловленную наличием дополнительных контактных поверхностей и износом зубьев венцов 2 и З. Контакт венцов можно сделать более полным, если обеспечить податливость венца/.

Проектирование зубчатых торцовых муфт с прямыми зубьями. Геометрические параметры муфт на первом этапе определяют предварительно, на втором уточняют по критериям жесткости и прочности стыка и необходимого усилия затяжки, на третьем проверяют экспериментально.
Выполнив эскизный проект револьверной головки, определяют наружный диаметр муфты Dе, задаются числом зубьев z = 96 (если головка должна иметь 4, 6, 8 или 12 позиций) или z = 72 (если требуется позиционирование через каждые 5° ). Вычисляют модуль зубчатых венцов

и округляют его до стандартного значения, равного 2; 2,5; 3 и 4 мм.
Рабочая высота зуба

средний радиус венца


длина зуба (ширина венца)


Определив геометрические параметры муфты, находят минимальную силу, необходимую для ее затяжки. На расчетной схеме (рис. 13.14) верхняя (подвижная) полумуфта с прикрепленным к ней узлом, например поворотной частью револьверной головки, не показана. В момент резания на револьверную головку действуют составляющие силы резания
и сила затяжки Р, направленная по нормали к условной площадке
стыка колец и проходящая через их центр 0. Если составляющие силы резания перенесли в начало координат, на револьверную головку, кроме сил действуют три момента: 


Результирующая сил Р и Р zсоздает равномерное давление в точках стыка между плоскими кольцами, находящихся на окружности среднего радиуса:
(13.1)
где S — площадь проекции контактных поверхностей на плоскость Q:

коэффициент, учитывающий неравномерность и прерывистость контакта:

Суммарный момент от моментов 

Суммарный момент увеличивает давление на одной половине кольца на
и на столько же уменьшает его на другой. Максимальное значение
в точках кольца на окружности радиуса R
(13.2)
где
осевой момент инерции области Q.
Так как
то

Момент Mzувеличивает давление на одной стороне зубьев на
и на столько же уменьшает на другой стороне:
(133)
Максимальное и минимальное давление в точках контакта, находящихся на окружности радиуса R:
(13.4)
С учетом зависимостей (13.1)—(13.3) получаем

Жесткость стыка считается достаточной, если в процессе черновой обработки ни в одной его точке на окружности радиуса R давление не становится меньше допускаемого
, принимаемого равным (1…2) МПа. Это условие соблюдается, когда сила затяжки удовлетворяет соотношению
(13.5)
В результате упругих деформаций поверхностей зубьев муфты режущая кромка инструмента в направлении осей Z и У смещается на δzи δy:
(13.6)
(13.7)
где
и
— значения угловой контактной податливости стыка зубьев относительно осей X и Y-
; к — коэффициент контактной податливости стыка: 
Зубчатые венцы муфт проектируют в следующем порядке. Выполняют эскизный проект револьверной головки, на основе которого определяют геометрические параметры зубчатого венца и координаты хр,ур, zpточки приложения силы резания. Принимают значения параметров
Исходя из требуемой жесткости станка, допустимые смещения
режущей кромки инструмента в результате деформации поверхностей зубьев принимают равными 0,05-0,1 общего допустимого смещения режущей кромки. Например, при проектировании револьверной головки токарно-револьверного станка усилия Рx, Ру, Рz, схему нагружения и координаты точки приложения нагрузки можно установить по ГОСТ 17—70 (проверка 17).
Определяют составляющие силы резания и моменты типового получистового режима обработки. При этой нагрузке по зависимостям (13.6) и (13.7) проверяют, не превосходят ли расчетные значения
допустимые
и
Если оказалось, что
или
увеличивают R. Затем находят модуль т , округляют его до стандартного и повторяют расчет
и 
Определяют нагрузки на муфту для типового чернового режима обработки. При этих нагрузках по зависимости (13.5) вычисляют требуемое усилие затяжки муфты.
По зависимости (13.4) рассчитывают максимальное давление на боковых поверхностях зубьев
и сравнивают с допускаемым [ aQ], которое принимают равным 700 МПа. Если условие прочности не соблюдается, необходимо изменить конструктивные параметры зубчатых венцов.
Проектирование зубчатых торцовых муфт с круговыми зубьями. На основе эскизного проекта револьверной головки определяют наружный диаметр муфты Dgи проверяют ее зубья на прочность по зависимости

где М— крутящий момент, создаваемый нагрузкой и приведенный к оси полумуфты, Н-м; [σ] — допускаемое напряжение сопротивления разрыву для материала муфты, МПа.
Затем вычисляют модуль муфты

и округляют до стандартного. Определяются другие параметры муфты ( см. рис. 13.12):
высота зуба

зазор между головкой и ножкой

высота фаски

рабочая высота зуба

высота головки

высота ножки

ширина венца
средний радиус муфты

радиус продольной кривизны

толщина выпуклого зуба

толщина вогнутого зуба

Радиус продольной кривизны уточняют по зависимости

где
половина угла охвата режущим инструментом зубьев муфты при ее изготовлении:
целое число охваченных инструментом угловых полушагов. 
Напряжение среза зубьев

сравнивают с допускаемым 
Среднее контактное давление на боковых сторонах зубьев

должно быть меньше допускаемого 
Примеры револьверных головок. Револьверная головка (рис. 13.15, а) предназначена для автоматической индексации режущих инструментов на токарном станке с ЧПУ. Инструменты закрепляются на инструментальном диске с горизонтальной осью вращения (рис. 13.15,б).Основные размеры шестипозиционной головки — L = 500 мм, L 1= 70 мм, L2= 315 мм, D = 310 мм, десяти- и двенадцатипозиционной —L = 540 мм, Ll= 90 мм, L2=328 мм, D= 410 мм.
От ротора 9 (рис. 13.16) электродвигателя 10 движение передается водилу 12 планетарного редуктора, а от него зубчатому блоку 7, венцы которого являются сателлитами этого редуктора. Один сателлит входит в зацепление с неподвижным зубчатым колесом 13, другой — с подвижным 6. С помощью торцовой зубчатой муфты ступица этого колеса связана с кулачком 2, управляющим индексацией головки. Ступица колеса б выполнена в вице винта с трапецеидальной резьбой, который сопрягается с гайкой 5, соединенной с поворотной гильзой 3. К гильзе прикреплены инструментальный диск 1 и полумуфта 15 с круговыми зубьями, служащая для фиксации поворотной части головки. Вторая полумуфта 14 прикреплена к ее корпусу. С поворотной частью головки посредством штанги и муфты соединен измерительный преобразователь круговых перемещений 11, выполненный с герметичными магнитоуправляемыми контактами (герконами)
Цикл работы головки начинается пуском электродвигателя 10. При этом приводятся во вращение зубчатое колесо 6 и кулачок 2. Благодаря тому что зубчатая муфта сцеплена и гильза 3 пока не вращается, гайка 5, а вместе с ней и гильза 3 перемещаются влево, происходит расцепление фиксирующей муфты. В момент, когда разъединение муфты заканчивается, уступ кулачка соприкасается с пальцем 18. При дальнейшем вращении кулачка палец под действием скоса на детали 16 входит в паз кулачка и двигатель 10 соединяется с гильзой 3; инструментальный диск 1 приводится во вращение против часовой стрелки.



Когда инструментальный диск повернется на угол8 на 3..,5е превышающий заданный по программе, по команде измерительного преобразователя 11 происходит реверс двигателя 10 и всех вращающихся частей головки. При этом фиксаторы 17 а 18 под действием пружин попадают в пазы фланца 16 и гильза 3 фиксируется. При дальнейшем вращении винта 6 гильза перемещается вправо, происходит сцепление и затягивание зубчатых полумуфт. Это контролируется микропереключателем 8.
В конце цикла фиксации инструментального диска вращение ротора электродвигателя прекращается, и максимальный ток, протекающий через его статор, приводит к срабатыванию токового реле. Двигатель выключается.
К работающему инструменту по каналу 4 подводится смазочно-охлаждающая жидкость.
Револьверные головки с вращающимися шпинделями позволяют производить на токарных станках сверление радиальных отверстий, фрезерование шпоночных пазов и т.д. В отверстиях на торце инструментального диска 1 (рис. 13.17,а) устанавливают державки 2 с неподвижными инструментами, а в радиальных отверстиях помещают шпиндельные узлы, с помощью которых закрепляются и приводятся во вращение инструменты 3 разного назначения. Инструменту, находящемуся в рабочей позиции, движение передается от электродвигателя 4 через вал 5. Револьверные головки могут быть оснащены сменяемыми шпиндельными блоками с радиальным или осевым расположением инструмента (рис. 13.17, б). Инструмент, находящийся в рабочей позиции, соединяется с приводом вращения с помощью торцовой муфты, имеющейся на первому валу шпиндельного блока.
§
Движения механизмов смены инструментов. Инструментальные магазины револьверные головки, автооператоры, кантователи совершают вращательное движение. Каретки, промежуточные носители, автооператоры при выводе и вводе инструмента в гнездо перемещаются поступательно. Цикл любого движения включает разгон, движение с постоянной скоростью, торможение. Разгон и торможение сопровождаются динамическими нагрузками, ударами, колебаниями в механизмах, составляют до 40 % общего времени и в основном определяют долговечность механизмов.

Узлы, входящие в состав механизмов автоматической смены инструментов, приводятся в движение от общего двигателя или от индивидуальных приводов (электрических, гидравлических, пневматических). В первом случае кинематические цепи состоят из многочисленных механических передач и преобразователей движения, имеют низкую жесткость. Во втором случае цепи короткие, но система управления усложняется.
Режимы поступательного движения механизмов. Оптимальный по критерию быстродействия треугольный закон (рис. 13.20, а) используют редко, так как вследствие мгновенного изменения знака ускорения при переходе к торможению имеют место перераспределение зазоров в механизмах и вызванные им удары. Часто используют закон изменения скорости, близкий к трапецеидальному (рис. 13.20, б), которому соответствуют плавные изменения ускорения. При этом продолжительность отдельного движения

где s — перемещение исполнительного органа; ар— ускорение исполнительного органа при разгоне;
его ускорение при торможении; отношение
времени
движения с установившейся скоростью к продолжительности I отдельного движения.
Оптимальная скорость установившегося движения зависит от пути перемещения исполнительного органа:

где к = 0,5…0,6.
При малых ходах высокие скорости нецелесообразны, так как не дают заметного выигрыша времени, но приводят к резкому повышению мощности привода.
Узел подходит к упору надежно, но без сильного удара в том случае, когда его скорость находится в интервале от 0,02…0,04 до 0,2 м/с. Минимальная скорость узла вычисляется с учетом возможных отклонений приведенной массы систем
на
, номинальной скорости подхода к упору
на
силы сопротивления
на 

Наибольшая скорость узла при подходе к упору не должна вызывать сильного удара между ними. Для автооператоров загрузочных устройств рекомендуется 
Для предотвращения колебаний в механизмах при переходных процессах (разгоне, торможении) и малых ходах (0,15…03 м) ускорение не должно превышать 5…6 м/с2, при больших ходах (0,7…0,8м) допускаемое ускорение может быть повышено до 10… 12 м/с2.
Номинальное время торможения узла при равнозамедленном движении

где Р — действующая на узел сила.
Режимы вращательного движения механизмов. Инструментальные магазины совершают вращательное движение со ступенчато изменяющейся скоростью (рис. 13.20, в). Время поворота на i позиций слагается из времен разгона, равномерного вращения с угловой скоростью
, торможения и позиционирования с угловой скоростью 
Для движения с одинаковым ускорением е при разгоне и торможении рациональным является отношение
При обычно используемых ускорениях
рациональная угловая скорость равномерного движения 
Минимальная угловая скорость вращательного движения узла определяется с учетом возможных отклонений момента сопротивления
на
приведенного момента инерции / на А/ и номинальной скорости подхода к упору
на 

С учетом того что инструментальный магазин поворачивается на разное число позиций, приведенное время движения при разгоне и торможении с одинаковым ускорением
(13.8)
где п — общее число позиций в магазине; рг— вероятность поворота на i позиций; Т.— время поворота на i позиций;
ускорение при разгоне и торможении; f(p, n) — функция, характеризующая закон распределения ходов пои повороте на разное число позиций (для симметричных распределений
угловая скорость равномерного вращения при повороте) ;
угловая скорость при позиционировании) ;
угол поворота при движении со скоростью 
угол поворота на одну позицию).
В зависимости (13.8) первое слагаемое определяет время равномерного движения, второе — время переходных процессов и фиксации.
§
Конструкции механизмов. Способ зажима инструмента на станке с ЧПУ зависит от типа станка, конструкции шпиндельного узла, базирующих и зажимных элементов инструмента.
Для автоматизированного зажима фрезерной или расточной оправки 1 (рис. 13.21, а) с коническим хвостовиком, устанавливаемой в шпинделе 16, который вместе с гильзой 15 может перемещаться в осевом направлении, служит устройство с цанговым захватом. Оправка затягивается в шпиндель с помощью пакета тарельчатых пружин 5, которые воздействуют на нее через гайку 7, стержень б, четырехлепестковую цангу 4 и винт 14. Самопроизвольному раскрытию цанги препятствует втулка 2.
Для освобождения инструмента служат гидроцилиндры, перемещающиеся в осевом направлении вместе со шпиндельной гильзой. Их корпус 10 удерживается от вращения шпонкой 9. Инструментальная оправка освобождается следующим образом. Масло подается в правый гидроцилиндр, по осевому каналу в его штоке проходит в левый цилиндр и действует на его поршень. При этом шток 11 перемещается влево, сжимает пакет тарельчатых пружин 5 и вместе со штоком правого гидроцилиндра передвигает цангу влево. Надвигаясь на коническую втулку 13, удерживаемую пружиной 3, цанга раскрывается. При дальнейшем движении цанга упирается в винт и выталкивает оправку из шпинделя. При отсутствии оправки в шпинделе чашка 12 пружинами 5 доводится до упора 8.
Если шпиндель установлен непосредственно в корпусе станка, для зажима инструмента может быть применено устройство, показанное на рис. 13.21,6. Оправка / 7 затягивается в шпиндель 18 с помощью пакета тарельчатых пружин 25, стержня 24 и шарикового захвата 19, а освобождается, когда шток гидроцилиндра 22, перемещаясь влево, действует на стержень 24. Для обеспечения надежной работы шарикового захвата корпус гидроцилиндра 22 может передвигаться вправо, сжимая пружину 21, до того момента, пока гайка 23 не упрется в гайку 20. Усилие зажима замыкается на шпинделе и не передается на его упорные подшипники. От выпадания шариков при отсутствии в шпинделе оправки предохраняет шток 26. Шариковое захватное устройство создает небольшое усилие зажима.
В координатно-расточных станках применяют захват с гребенчатой цангой 27 (рис. 13.21, в), в горизонтально-расточных —с составной цангой 29 (рис 13.21,г), которая освобождает винт 28 при перемещении ее влево вместе со стержнем 301В станках типа “обрабатывающий центр” необходимо обеспечить большое усилие зажима, механизмы оснащают захватом с сухарями 32 (рис. 13.21, д), установленными в отверстиях тяги 33. Когда инструментальная оправка затянута в шпиндель, сухари фиксируются втулкой 31; для освобождения оправки гидроцилиндр сжимает пакет тарельчатых пружин, тяга 33 передвигается влево, и сухари оказываются против расточки во втулке 31. Для создания большого усилия зажима применяют также захват с качающимися собачками 35 (рис. 13.21, е), направляемыми обоймами 34.

Расчет механизмов. При применении автоматических устройств для зажима режущих инструментов необходимо знать усилия запрессовки и выпрессовки, а также максимальное давление в соединении. При расчетах исходят из того, что имеющие место погрешности углов уклона деталей соединения, находясь в полях допусков конических инструментальных поверхностей, оказывают существенное влияние на все рабочие характеристики соединения. Порядок расчета следующий.
В соответствии со степенью точности деталей конического соединения по СТ СЭВ 178—75 определяют максимально возможную разность их углов уклона.
Находят максимально возможное осевое усилие Р3, действующее на инструмент в процессе резания и представляющее собой фактическое усилие запрессовки.
Учитывают, что при запрессовке инструмента в результате деформирования деталей возможны две схемы их взаимного положения: 1) расчетная длина контакта / соединения меньше определяемой по чертежу номинальной длины контакта /н; 2) расчетная длина контакта / больше номинальной /н.
Зная утлы
и
уклон отверстия в шпинделе и хвостовика инструмента, вычисляют угол уклона конического соединения:

где μ — коэффициент Пуассона; r — большой радиус соединения;
радиус наружной поверхности шпинделя.
Приняв возможный в производственных условиях коэффициент трения при запрессовке
(поверхности обезжирены), определяют условное осевое усилие, при котором контакт имеется по всей поверхности соединения:

где Е— модуль упругости материала шпинделя: 
Если сила Роменьше максимально возможного усилия на инструменте
в процессе резания, то
и максимальное давление в соединении

где

При этом нормальная сила, действующая на внутреннюю поверхность шпинделя,

Если же сила Робольше усилия Р3на инструменте в процессе резания, то
и максимальное давление в соединении определяют из уравнения

При этом нормальная сила, действующая на внутреннюю поверхность шпинделя,

Усилие выпрессовки

Коэффициенты трения при выпрессовке принимают в зависимости от состояния поверхностей и разности углов уклона деталей соединения:

§
Смена заготовок с помощью промышленных роботов. Промышленные роботы используются не только для загрузки станков заготовками и съема обработанных деталей, но и для смены изношенных режущих инструментов, межстаночного транспортирования заготовок, загрузки накопителей готовыми деталями, сметания стружки с поверхности стола станка и т.п.
По степени специализации функций роботы делятся на универсальные, специализированные и специальные. Универсальные роботы способны производить несколько операций на различном по технологическому назначению оборудовании. Специализированные роботы предназначены для выполнения опeрации какого-либо одного вида с определенным типом деталей. Сверхлегкие роботы имеют грузоподъемность до 1 кг, легкие — 1…10 кг, роботы средней грузоподъемности служат для перемещения объектов массой 10…200 кг, тяжелые – для манипулирования объектами массой 200…1000 кг.
Напольные роботы с выдвижной горизонтальной рукой обычно работают в цилиндрической системе координат, оснащены электрическими или пневматическими приводами и цикловым управлением. Их грузоподъемность составляет 0,05…20 кг. Напольные роботы с выдвижной рукой и подвижной кареткой работают в цилиндрической системе координат, имеют грузоподъемность от 1 до 1000 кг. Напольные роботы с качающейся выдвижной рукой функционируют в полярной сферической системе координат. Напольные роботы с многозвенной рукой имеют электромеханические или электрогидравлические следящие приводы отдельных звеньев руки, длины которых не изменяются; такие роботы отличаются компактностью. Портальные роботы с рукой, установленной на подвижной каретке, позволяют сэкономить производственную площадь и организовать удобное обслуживание оборудования. Транспортные роботы для перемещения деталей, уложенных в тару, перемещаются по монорельсу. Специальные роботы встраиваются в металлорежущие станки.
На станках, работающих совместно с промышленными роботами, должны быть обеспечены автоматический зажим деталей, автоматическое срабатывание защитных экранов (щитков), обмыв или обдув базовых поверхностей сменных устройств, контроль правильности закрепления заготовок и приспособлений.
Для захватывания и удержания предмета производства или технологической оснастки промышленный робот оснащают захватным устройством. Оно является составной частью захватной системы, в которую входят также привод, передаточный механизм и сенсорные измерительные преобразователи. К захватным устройствам предъявляются следующие основные требования: небольшая масса, что необходимо для снижения инерционных нагрузок при разгоне и торможении; небольшие габариты, расширяющие возможность использовать промышленный робот при малой зоне обслуживания технологического оборудования; надежное удержание предмета манипулирования путем создания достаточной силы захвата, которая в необходимых случаях должна регулироваться; приспосабливаемость к форме предмета манипулирования (способность компенсировать отклонения размеров и положения детали, а также изменение ее размеров в результате обработки) ; высокая точность; быстросменность.
Захватные устройства бывают простыми (имеют только губки с захватывающим движением), с приспособлениями для выполнения дополнительных операций (измерения, клеймения и др.), адаптивными (оснащены преобразователями усилия зажима, контроля базирования заготовки и т д.). Захватные устройства делят на однозахватные и многозахватные. Промышленный робот с Двухзахватным устройством во время обработки одной заготовки берет Другую и переносит ее к рабочей зоне станка. По окончании обработки свободным захватом снимает обработанную деталь и устанавливает заготовку, удерживаемую другим захватом. Этот робот производит смену заготовок значительно быстрее по сравнению с однозахватным.
В качестве основных параметров захватных устройств принимают грузоподъемность и наибольший размер захватываемой поверхности, который должен выбираться из ряда: 1, 4, 12, 32, 63, 100, 125, 160, 200, 250, 320,400, 500 мм.
Замыкание захватного устройства с поверхностями детали может быть геометрическим или силовым. В первом случае внешние силы действуют на поверхности детали как нормальные, во втором — передаются на деталь как силы трения.
Чтобы создать двухточечный контакт между поверхностями захватываемой детали и губками, последние снабжаются шарнирами: простым или шаровым на одной из губок или простым на обеих губках. Конструкция захватного устройства в значительной степени определяется габаритами, массой и конфигурацией объекта манипулирования.
Требуемое усилие зажима манипулируемой детали можно определить по зависимости

где т — масса детали; к1— коэффициент запаса:
коэффициент, зависящий от ускорения а схвата:
(обычно 
коэффициент (табл. 13.5), зависящий от отношения усилия зажима к весу детали (
коэффициент трения между губками захватного устройства и поверхностью детали).
В зависимости от способа взаимодействия с объектом манипулирования захватные устройства делятся на механические, вакуумные и магнитные.


Механические захватные устройствабывают неуправляемые и управляемые. Неуправляемые устройства в виде пинцета (рис. 13.22, а, 6) или клещей (рис. 13.22, в, г) удерживают деталь благодаря упругости зажимных элементов (разрезного упругого валика, разрезной упругой втулки, пружины) и освобождают ее при действии дополнительных устройств. Они применяются в массовом производстве небольших изделий. Губки управляемых захватных устройств приводятся в движение пневматическими, гидравлическими или электрическими приводами. Пневматические приводы применяют в захватных устройствах для деталей массой до 5 кг. К пневматическому цилиндру энергия подводится просто, усилие зажима регулируется легко, но такой привод имеет значительные габариты. С помощью более компактного и легко регулируемого гидравлического привода можно получить значительно большие усилия зажима. Такие приводы применяют в захватных устройствах для деталей массой более 20 кг. Электрическими приводами с малогабаритными двигателями постоянного тока оснащают захватные устройства для деталей массой от 5 до 20 кг. Движение на жесткие, регулируемые или гибкие (пружинные) губки передаются зубчато-реечными, рычажно-стержневыми, кулисно-стержневыми, клиновыми, кулачковыми и другими механизмами.
Примеры рычажно-стержневых механизмов приведены в табл. 13 6. Если Р1 — усилие на губках, Р2— усилие, создаваемое гидро- или пневмоцилиндром, s 1и s 2 — соответственно перемещение губою и штока цилиндра, tj — КПД механизма, из условия равенства работ

следует

Здесь
соответственно кинематическое и силовое передаточное отношение механизма.
Среди рычажно-стержневых механизмов следует отметить захватное устройство с ломающимися рычагами (в табл. 13.6 последнее). Вблизи мертвой точки ломающегося рычага оно развивает большое усилие зажима, имеет малые габариты, но допускает небольшое изменение захватываемых диаметров. Этот недостаток можно устранить применением сменных или регулируемых губок.
Захватные устройства с кулисно-стержневым механизмом (табл. 13.7) предназначены для манипулирования тяжелыми деталями.
Устройства с зубчатыми передачами (табл. 13.8) имеют небольшие габариты, допуская при этом большое раскрытие губок.



Вакуумные захватные устройства основаны на принципе присасывания схвата к поверхности детали и обычно используются для захватывания детали только по одной поверхности, манипулирования изделиями из стекла, керамики, громоздкими плоскими деталями из стали

Захватывание детали осуществляется одной большой осесимметричной присоской (рис. 13.23, а) или несколькими микроприсосками диаметром от 2 до 8 мм, расположенными в шахматном порядке и позволяющими манипулировать деталями с криволинейными поверхностями (рис. 13.23, б), со сквозными отверстиями (рис. 13.23, в).
Для компенсации разновысотности поверхности захватываемой детали, улучшения прилегания присоски к ее поверхности захватное устройство снабжают пружиной, которая прижимает присоску к детали перед окончанием перемещения руки робота.
Расчетная сила притяжения присоской

где S — площадь проекции присоски на плоскость детали, ограниченная внутренним контуром, м2; раи рв — соответственно атмосферное и остаточное давление в камере присоски, Па;
коэффициент, учитывающий уменьшение площади присоски вследствие ее деформирования: 
При перемещении руки робота в вертикальном и горизонтальном направлениях требуемая сила притяжения присоской (рис. 13.24)

где N, Т— соответственно нормальная и касательная составляющие внешних сил, Н;
коэффициент снижения грузоподъемности захватного устройства, зависящий от давления в контакте между присоской и деталью, влияющего на герметичность стыка;
коэффициент трения между поверхностями детали и присоски; к — коэффициент запаса (можно принять к = 2). Для круглой присоски

где b – ширина уплотнительного борта, мм; d – диаметр присоски, м;
необходимое давление в контакте присоски с поверхностью детали, зависящее от материала уплотнения, качества поверхности детали (для деталей с гладкой поверхностью, например из стекла, q =. 30 000…90 000 Па, с грубой поверхностью, например с окалиной, q = 300 000 Па) ; р0 —давление воздуха в полости присоски.
Магнитное захватное устройство обычно оснащают электромагнитом, иногда постоянным магнитом или одновременно обоими магнитами. Захватные устройства с электромагнитами срабатывают быстро, могут быть легко приспособлены к деталям сложной формы (рис. 13.25). Для этого соединяют в блок несколько электромагнитов или используют легко деформируемые оболочки, заполненные ферромагнитным порошком. Постоянные магниты создают значительную силу притяжения, не требуют питания, но от установленной и закрепленной детали их надо отрывать.

Смена заготовок с помощью столов-спутников. На столы-спутники устанавливают зажимные приспособления и закрепляемые в них заготовки. Эта операция выполняется вне станков. Затем столы-спутники переносятся на многоцелевой сверлильно-фрезерно-расточный станок или на гибкий производственный модуль.
В столах-спутниках по ОСТ 2 Н62-5—85 предусматриваются рабочая поверхность 2 (рис. 13.26) для установки и закрепления заготовок и приспособлений, установочные поверхности базирующих планок 1, необходимых для базирования обрабатываемых деталей, крепежные отверстия 10 или Т-образные пазы для крепления обрабатываемой детали или приспособлений, центрирующее отверстие 9 для ориентации приспособлений на столе-спутнике. Предусматриваются; также базовые плоскости 4 для базирования стола-спутника на станке, базовые отверстия 6 для ориентации его на станке с помощью фиксирующих штырей, зажимные поверхности 3, 5 для контакта зажимных устройств станка со столом-спутником, направляющие поверхности 7, служащие для ориентации и направления стола-спутника в устройстве автоматической смены и в накопителе. Для выверки столов-спутников и приспособлений на них служит поверочное отверстие 8.
Столы-спутники с отношением ширины к длине 1:1 и 1:1,25 изготовляются для горизонтальных, а с отношением 1:1,6 и 1:2 — для вертикальных многоцелевых станков и гибких производственных модулей (табл. 13.9—13.12).
Компоновки некоторых станков со столами-спутниками приведены на рис. 13.27.
Заготовка закрепляется на одном из двух столов-спутников 1, когда он находится на вспомогательной платформе 3 или 4, а на рабочей позиции станка происходит обработка. Смена заготовки производится путем сдвига стола- спутника на стол 2 станка и перемещения стола-спутника с обработанной деталью со станка на вспомогательную платформу.
В станках, имеющих компоновки согласно рис. 13.27, а, б, позиции загрузки и разгрузки расположены близко друг от друга, что удобно для их обслуживания. В станке с компоновкой по рис. 13.27, в применено двухпозиционное поворотное устройство 3.
Конструкция такого устройства показана на рис. 13.28. На позицию ожидания платформы 7 помещают стол-спутник 11 и закрепляют на нем заготовку, в то время как предыдущая деталь обрабатывается на станке, будучи закрепленной на таком же столе-спутнике. Заготовка может быть установлена на столе-спутнике и вне станка.
Горизонтальными гранями направляющих стол-спутник базируется по роликам 9, вертикальными — по роликам 8. Его Т-образный паз 12 входит в зацепление с захватом 14, соединенным со штоком гидроцилиндра 10.
По окончании обработки предыдущей детали шток гидроцилиндра 13 перемещается влево, захват 6 устанавливается над Т-образным пазом стола-спутника, закрепленного на столе станка. После расфиксации и небольшого вертикального перемещения этого стола-спутника захват входит в его паз и перемещает на платформу 7. Таким образом, на платформе некоторое время находятся два стола-спутника: один с обработанной деталью, другой — с заготовкой. Затем рейка 4, перемещаемая гидроцилиндрами 5 и 16, поворачивает зубчатое колесо 3, а вместе с ним стойку 15 и платформу 7.
В результате поворота платформы на 180 стол-спутник 11 оказывается на позиции смены. Шток гидроцилиндра 10, занявшего место гидроцилиндра 13, при перемещении влево сдвигает стол-спутник 11 на стол станка. Там стол-спутник опускается на фиксаторы, захват 14 выходит из зацепления с его Т-образным пазом. На этом цикл смены стола-спутника заканчивается.
Для согласования положений стола-спутника и стола станка служат регулировочные винты 12 и 17, с помощью которых устройство можно смещать относительно базовой плиты 1.





§
СВОЙСТВА АГРЕГАТНЫХ СТАНКОВ
Агрегатный станок компонуется в основном из унифицированных узлов, имеющих индивидуальные приводы и связанных между собой электрической системой управления. Основными унифицированными узлами являются силовые головки, силовые столы, шпиндельные узлы, поворотные делительные столы, станции гидропривода, базовые узлы, станции смазывания и др. Последовательность движений узлов обеспечивается имеющимися на них упорами и конечными переключателями. Благодаря стандартным присоединительным размерам достигается необходимая точность взаимного положения узлов. Унифицированные узлы изготовляются нескольких габаритов, что дает возможность создавать агрегатные станки оптимальных размеров соответственно габаритам обрабатываемой детали. Для обработки мелких деталей в приборостроении существуют малогабаритные агрегатные станки.
Агрегатные станки имеют высокую производительность, обеспечиваемую большой концентрацией операций и оптимальными режимами резания. На агрегатных станках обрабатываются детали стабильного качества.
Благодаря широкому применению унифицированных узлов и деталей снижается объем конструкторских работ, появляется возможность автоматизированного проектирования инструментальных наладок, шпиндельных коробок, электрических и гидравлических систем станков, использования типовых форм технической документации, заготовок чертежей, аппликаций. Трудоемкость изготовления агрегатных станков относительно невысокая вследствие того, что детали унифицированных узлов можно обрабатывать по технологии серийного производства. Благодаря высокому качеству унифицированных узлов, возможности оценки показателей надежности и производительности станков на стадии проектирования, применению прогрессивных методов ремонта агрегатные станки отличаются высокими эксплуатационными свойствами.
СИЛОВЫЕ ГОЛОВКИ
Силовые головки являются унифицированными узлами агрегатных станков. Они сообщают режущим инструментам главное (вращательное) движение, подачу и быстрое движение подвода и отвода. По технологическому назначению их подразделяют на сверлильные, расточные, резьбонарезные, фрезерные. Головки большинства конструкций позволяют выполнять ряд операций.
Привод главного движения силовых головок для обработки мелких деталей часто оснащают пневматическим двигателем. Головки с гидравлическим двигателем можно быстро переналаживать на другой режим. В большинстве случаев в главном приводе устанавливают электрический асинхронный двигатель. Микроголовки имеют главный привод мощностью 0,1…0,4 кВт, головки малой мощности — 0,4..3 кВт, большой мощности — 15..30 кВт.
Силовая головка может иметь подвижный корпус, выдвигаемую пиноль или подвижный корпус с пинолью. Привод подачи может быть размещен в самой головке или вне ее. Головки первого типа называют самодействующими, второго — несамодействующими. Несамодействуюшие головки малых габаритов применяют в станках для обработки мелких деталей. Силовые головки оснащают электромеханическим, гидравлическим, пневматическим, пневмогидравлическим приводами. Тяговым устройством электромеханического привода могут быть винтовая передача, механизмы с цилиндрическим или плоским кулачком (рис. 14.1). Плоскокулачковые головки обычно предназначены для выполнения легких работ с короткими циклами: ход в интервале 35…75 мм, длительность цикла — 5…3O с, мощность главного привода — 0,4..3 кВт. На основе электромеханического винтового и гидравлического приводов создают силовые головки с большим усилием подачи для обработки со значительной концентрацией операций. Мощность электродвигателя их главного привода достигает 30 кВт, усилие подачи — 100 000 Н. Существенным недостатком гидравлического и пневмогидравлического приводов является нестабильность подачи при изменении температуры масла. Приводом подачи реализуются различные циклы перемещений режущих инструментов. Основные и присоединительные размеры силовых головок регламентируются государственными стандартами (табл. 14.1—14.4).
Малогабаритная силовая головка (рис. 14.2) развивает усилие подачи до 2000 Н. Ее шпиндель 6 приводится во вращение электродвигателем 1. От штока 5, являющегося пинолью головки, он получает осевое движение по циклу быстрый подвод — рабочая подача — быстрый отвод. Опорами пиноли служат направляющие втулки 4 я 7. Гайка 3 предназначена для регулирования глубины обрабатываемых отверстий. В конце хода в нее упирается кулачковый блок 2. Движениями головки управляет ее гидравлическая панель.
На агрегатных станках с силовыми головками наиболее эффективно выполняются сверлильно-резьбонарезные и легкие фрезерные операции. В то же время из-за недостаточной жесткости шпинделей они непригодны для тяжелых фрезерных и расточных операций. Поэтому на основе силовых головок обычно компонуют малые агрегатные станки.





СИЛОВЫЕ СТОЛЫ
Силовой стол состоит из подвижной плиты, называемой столом, неподвижных салазок и привода. На столе устанавливают инструментальную бабку или приспособление с обрабатываемой заготовкой. Цикл работы стола включает быстрый подвод, одну или две рабочие подачи, выдержку на жестком упоре (при необходимости), быстрый отвод. Циклом работы управляют переставные упоры и бесконтактные путевые переключатели. Силовой стол может быть установлен на станке в горизонтальном, вертикальном и наклонном положениях. При вертикальной и наклонной установках подвижная часть стола вместе с инструментальной бабкой и инструментальной наладкой уравновешивается противовесом.
Основным параметром силовых столов является ширина салазок В. С ней связаны максимальное усилие подачи Р, допускаемое приводом, скорость быстрых движений v б, скорости рабочей подачи Smin и Smax (рис. 143)
Основные размеры силовых столов стандартизованы (табл. 14.5). Технические характеристики столов серии УЕ приведены в табл. 14 £. Силовые столы оснащают электромеханическими или гидравлическими приводами. Электромеханический привод создают на базе асинхронного двигателя и редуктора, обеспечивающего рабочую подачу и быстрые движения, или высокомоментного двигателя постоянного тока с бесступенчатым регулированием частоты вращения. В состав редуктора могут входить зубчатые передачи, переключаемые электромагнитными муфтами, ременные передачи, механический вариатор.
В качестве тягового механизма в электромеханическом приводе применяют винтовую передачу скольжения или качения. Передача качения имеет высокую долговечность и обеспечивает стабильность подачи, а значит, и повышенную стойкость режущих инструментов. В гидравлических силовых столах тяговым механизмом служит гидроцилиндр.
Силовые столы имеют чугунные направляющие скольжения, выполненные за одно с салазками или в виде стальных закаленных накладных планок, прикрепленных к салазкам. Направляющие могут быть трех исполнений: две плоские, одна плоская и одна треугольная, две треугольные. Направляющими двух последних типов снабжают столы повышенной точности. Смазывание направляющих производится от централизованной смазочной системы с помощью питателей. Передняя часть направляющих закрывается телескопическим кожухом или защищается скребками. Задняя часть закрывается телескопическим кожухом.
В качестве примера рассмотрим электромеханический силовой стол (рис. 14.4). Быстрые движения столу 5 сообщает асинхронный электродвигатель 3 в то время, когда электромагнитная муфта 4 выключена. Рабочую подачу стол получает от асинхронного электродвигателя 1 через ряд зубчатых передач, в том числе пару сменных колес а и b/

Примечания: 1. Таблица распространяется на силовые столы прямолинейного Движения с механическими или гидравлическими приводами.
2.Допускается изготовление силовых столов с большими или меньшими, чем указано в таблице, ходами s по ряду Ra 10 ГОСТ 6636-69. При этом L = L 1 s 50 мм.
3.Номинальные расстояния между осями первого и всех последующих отверстий d под крепежные винты должны быть кратны 50.




Максимальное усилие подачи настраивается фрикционной муфтой 2, которая предохраняет привод от перегрузки и позволяет производить обработку на жестком упоре. При применении в приводе двухскоростного двигателя в цикле могут быть две рабочие подачи. Элементы конструкции силового стола приведены на рис. 14.5 и 14.6. По направляющим литой чугунной плиты 3 перемещается стол 2. Повышенная точность узла обеспечивается благодаря тому, что одна из направляющих треугольная. В приводе использована винтовая передача скольжения. Осевое усилие воспринимается упорным шариковым подшипником 1. Предусмотрена работа стола на жестком упоре 4. Управление циклом работы стола осуществляется- бесконтактными путевыми переключателями 2 (рис, 14.6),установленными на направляющей плите, и упорами 1 в виде пластин, закрепленных на столе.
ИНСТРУМЕНТАЛЬНЫЕ БАБКИ
Инструментальные бабки применяются в комплекте с силовыми столами. Они сообщают инструментам вращательное движение.
Расточные бабки производят растачивание отверстий жестким шпинделем, т.е. без направления по кондукторной втулке. Основные размеры бабок стандартизованы (табл. 14.7). Унифицированные бабки предназначены для растачивания отверстий с наибольшим диаметром от 100 до 400 мм, выпускаются семи габаритов, допускают наибольшее осевое усилие от 1,6 до 2,5 кН
Расточная бабка состоит из шпиндельного узла (см. рис. 6.10) и привода. К переднему концу шпинделя крепится расточная бортштанга. Привод расточных бабок выполняется в виде ременного редуктора со сменными шкивами (рис. 14.7, а, для станков, предназначенных для обработки с высокой частотой вращения шпинделя) или в виде зубчатого редуктора с парой сменных колес (рис. 14.7,5).


Фрезерные бабки производят черновое и чистовое фрезерование торцовыми, дисковыми и концевыми фрезами. Основные размеры бабок стандартизированы (табл. 14.8). Унифицированные бабки выпускаются шести габаритов с двигателем мощностью от 2,2 до 30 кВт. На них можно установить фрезы диаметром от 80…100 до 355…630 мм. Частота вращения шпинделя наименьшего габарита принята равной 710…1400 об/мин, наибольшего – 28… 400 об/мин.
Фрезерные бабки бывают без отскока и с отскоком пиноли. Бабки второго типа применяют, когда в цикле работы станка требуется отводить фрезу от обработанной поверхности. Конструкция такой бабки приведена на рис. 14.8. Нижней плоскостью корпус 1 бабки устанавливается на силовом столе, к правой плоскости корпуса привинчивается зубчатый или ременный редуктор привода вращения шпинделя. В отверстие корпуса помещена пиноль 2, в которой на подшипниках качения установлен шпиндель 3. На пиноли закреплена серьга 4, связывающая ее с механизмом наладки перемещения.

Примечание. Остальные размеры – по ГОСТ 21037-75.
Отскок пиноли происходит, когда с помощью гидроцилиндра 10 перемещаются вправо ползун 9 и винт 7. Подвод пиноли осуществляется при перемещении штока цилиндра влево. Для смены фрез без подналадки предназначен сменный калибр 8. Гидроцилиндр 11 и сухарь 12 служат для зажима пиноли. Положения ее контролируются конечными выключателями 5 и 6. Во фрезерных бабках без отскока пиноли вместо гидроцилиндров применяют винты с ручным приводом.

Сверлильные бабки предназначены для сверления одиночных отверстий большого диаметра. Они изготовляются трех габаритов с осевым усилием от 10 до 20 кН для обработки отверстий наибольшего диаметра 25,32или 40 мм. Бабка состоит из шпиндельного узла и привода.
Подрезно – расточные бабки служат для подрезания торцовых поверхностей и протачивания канавок в отверстиях. Унифицированные бабки изготовляют пяти габаритов с планшайбой, имеющей диаметр 250, 320, 400 500 или 630 мм. Наибольшее усилие подачи на каретке составляет от 1250 до 8000 Н.
В состав подрезно-расточной бабки входят расточная бабка с приводом главного движения 7 (рис. 14.9); закрепленная на торце шпинделя 9 планшайба 10; перемещающаяся по ней каретка 12; привод поперечной подачи с гидроцилиндром 2. Движение от привода передается каретке-с помощью тяги 8 и реечно-зубчатых передач. Для устранения зазоров в приводе зубья колеса 11 входят в зацепление с двумя рейками 23 и 24 , одна из которых с помощью винтов 22 может смещаться относительно другой. Для обеспечения точного переднего положения каретки служат винт 14 и упор 13. Подшипники 15 дали возможность соединить невращающуюся 3 и вращающуюся 8 части тяги. Исходное положение штока гидроцилиндра, а значит, и каретки определяется упором 27 и гайкой 1, конечное — упором 16 и гайкой 1. Контроль крайних положений штока осуществляется конечными переключателями 4 я 21, с которыми взаимодействуют упоры 19 и 20. Они получают движение от штифта 5 через рычаг 6 и валик 18.

§
Поворотный делительный стол является унифицированным узлом агрегатного станка. Он предназначен для периодического переноса обрабатываемых деталей в приспособлениях с одной позиции на другую и точной фиксации их относительно режущих инструментов. Узел состоит из корпуса, планшайбы, механизмов поворота и фиксации. Основные размеры поворотно-делительных столов определены государственным стандартом (табл. 14.9). По типу привода поворота столы делят на электромеханические, гидравлические, пневматические. В основе гидравлического привода может быть гидроцилиндр или аксиально-поршневой гидродвигатель.
Гидравлические поворотные делительные столы серии УН (рис. 14.10) изготовляют трех габаритов (табл. 14.10).
На корпус 1 стола установлена планшайба 3, на которую помещают приспособления и обрабатываемые детали. Планшайба вращается вокруг вертикальной оси б на прецизионном двухрядном коническом подшипнике 7 с короткими цилиндрическими роликами. Центральное отверстие в оси 6 служит для размещения труб, подводящих масло к приспособлениям. Стружка и смазочно-охлаждающая жидкость собираются в емкости 2, из которой с помощью прикрепленного к планшайбе скребка 9 удаляются в отдельный стружкосборник.
При пуске стола штоки втягиваются в гидроцилиндры 10 и три прихвата 8, поворачиваясь на своих осях, освобождают планшайбу. Одновременно масло под давлением поступает на направляющие, приподнимает планшайбу на 0,02 мм, благодаря чему снижаются необходимый для поворота момент и износ направляющих. Реле давления, контролирующее гидроразгрузку, дает команду на поворот планшайбы.
Цикл деления включает в себя поворот планшайбы на соседнюю позицию с небольшим перебегом и возврат ее в эту позицию с малой скоростью и, следовательно, с повышенной точностью. Вращение планшайбы производится аксиально-поршневым гидродвигателем 14, который с помощью упругой муфты 12 связан с червяком 11. От червячного колеса 17 через зубчатые колеса 4 и 5 движение передается планшайбе. С помощью зубчатых колес 15 и 13 после сжатия пружины 16 планшайбу можно повернуть вручную.



Число делительных упоров 18, запрессованных в планшайбу, равно числу позиций стола. При подходе к соседней позиции делительный упор опускает фиксатор 20, внутри которого находится стержень 19. Последний перемещает вниз плунжер 26 путевого дросселя, находящегося на выходе гидродвигателя. Благодаря наклонным пазам на нижнем конце плунжера поток масла через дроссель плавно уменьшается и скорость вращения стола снижается. Когда нижние пазы оказываются почти полностью перекрытыми, открываются верхние пазы. После полного перекрытия нижних пазов масло проходит только через верхние. В этот момент плунжер автоматически опускается в нижнее положение, происходит торможение планшайбы.
Реверс и фиксация планшайбы происходят следующим образом. При перемещении вниз винт 24 включает конечный переключатель 23, что является подготовкой к реверсу планшайбы. Когда она перебегает заданную позицию, фиксатор под действием пружины 21 поднимается и конечный переключатель 23 выключается, подавая при этом команду на реверс планшайбы. Масло начинает поступать в отверстие 25 дросселя, поднимает его плунжер и проходит в гидродвигатель. В конце реверса планшайбы делительный упор 18 вступает в контакт со стержнем 19 и, преодолевая усилие пружины, поворачивает его и рычаг 27. Последний действует на конечный переключатель 22. Подается сигнал на реле времени, обеспечивающее сначала стабилизацию усилия прижима Делительного упора к фиксатору, а затем отключение гидроразгрузки и зажим планшайбы.
ШПИНДЕЛЬНЫЕ КОРОБКИ
Шпиндельная коробка является специальным узлом агрегатного станка. С ее помощью производят обработку ряда отверстий с параллельными осями. В шпинделях коробки устанавливают одинаковые или разные инструменты. Каждый шпиндель получает вращение в нужную сторону с заданной частотой. На каждый инструмент передается требуемый крутящий момент.
Шпиндельная коробка почти полностью состоит из унифицированных элементов. Валы и шпиндели расположены в чугунном литом корпусе, в состав которого входят собственно корпус, задняя плита и крышка (рис. 14.11). Задняя плита крепится к упорному угольнику. Крышка служит резервуаром для масла при вертикальном положении коробки. Применяют шпиндельные коробки 24 типоразмеров (табл. 14.11). Промежуточные валы диаметром 20…50 мм помещаются на подшипниках с установочными кольцами (рис. 14.12, а, б, в), диаметром 60 и 75 мм — без установочных колец (рис. 14.12, г, д) .Шпиндели (рис. 14.13) монтируются на радиальных подшипниках, которые для повышения жесткости узла разнесены в пределах толщины стенки корпуса. Удлинители с режущими инструментами крепятся в шпинделе стопорными винтами. Зубчатые колеса в коробке размещены в четырех рядах (см. рис. 14.12). Два ряда ( / и II) расположены в корпусе, один (0)— в полости передней крышки, один {III) — в полости, образованной задней плитой. (На рис. 14.12, а, 14.12, д, 14.13 показаны варианты расположения зубчатых колес.)
Проектирование шпиндельных коробок автоматизировано. На первом этапе конструктор вручную разрабатывает ее кинематическую схему, а затем заносит в бланк исходной информации данные о размерах шпинделей, о нагрузках на них, модули и числа зубьев колес, координаты осей валов и др. Информация вводится в ЭВМ. Вычислительная машина выполняет кинематический и силовой расчеты, проверяет пространственную совместимость деталей и узлов. В результате проектирования она выдает таблицы сборок валов и шпинделей, спецификации, таблицы расточек и подрезок в корпусных деталях и другую документацию, необходимую для вычерчивания шпиндельной коробки и изготовления ее корпусных деталей. Корпусные детали обрабатываются в полуавтоматическом режиме на многоцелевых станках с ЧПУ




§
Основным документом на проектирование агрегатного станка является техническое задание. В него включают чертеж обрабатываемой детали, на котором выделяют поверхности, подлежащие обработке на станке; годовую программу выпуска деталей; вид смазочно-охлаждающей жидкости.
Выделяют базовые поверхности детали с расчетом, что при их использовании будет гарантирована заданная точность обработки. Выбор базовых поверхностей связан также с компоновкой станка, на котором предполагается ее обрабатывать.
На станках компоновок первого типа (рис. 14.14,д) обрабатываемые заготовки остаются неподвижными в течение всего цикла обработки. Станки не имеют устройства для их периодического транспортирования. Заготовка 4 закрепляется в приспособлении 5, установленном на средней станине 10. На боковых станинах 9 помещают силовые столы 8. На них с помощью упорных угольников 7 закрепляют шпиндельные коробки 6 или устанавливают сверлильную, расточную или фрезерную бабку. На боковую подставку 11 помещают вертикальную стойку 1 с силовым столом 2 и шпиндельным узлом 3. Станки обеспечивают относительно высокую точность детали, так как при одной установке можно обрабатывать ее сочно связанные поверхности.
Станки компоновок второго типа имеют транспортное устройство для обрабатываемых деталей в виде поворотного делительного стола (рис. 14.14,6).


В приспособлении 13, помещенном на столе 14, закрепляют несколько заготовок, расположенных по окружности. Обработка заготовок сверху производится инструментами, установленными/в одной шпиндельной коробке 12, перекрывающей все позиции стола, или с помощью нескольких отдельных силовых узлов. Боковые поверхности детали обрабатываются инструментами, установленными на силовых узлах, помещенных на горизонтальных боковых станинах. Производительность обработки может быть повышена при совмещении времени установки и съема деталей с временем обработки.
Станки компоновок третьего типа (рис. 14.14, в) имеют транспортное устройство для обрабатываемых заготовок в виде делительного барабана 77с горизонтальной осью вращения. На его гранях находятся приспособления для закрепления заготовок. На горизонтальных силовых узлах 15 и 19, установленных с одной или с двух сторон, помещают шпиндельные коробки 16 и 18, перекрывающие все позиции барабана. На таких станках часто обрабатывают детали с двух противоположных сторон (корпусные, трубы, валы). С помощью небольших подвесных головок обрабатывают и другие поверхности.
Станки компоновок четвертого типа имеют многопозиционный линейно перемещающийся стол. Обрабатываются крупногабаритные детали или много одинаковых элементов, обработка которых должна быть распределена между двумя-тремя позициями станка.
Выбрав компоновку станка, определяют расчетное время цикла:

где Ф — номинальный годовой фонд времени работы станка;
заданная годовая программа выпуска деталей;
коэффициент технического использования станка; в зависимости от его сложности
принимается равным 0,85…0,9.
Циклограмму станка оформляют в виде таблицы. Слева перечисляют элементы цикла станка и его механизмы. На горизонтальной оси откладывают продолжительность каждого элемента цикла. Все движения делят на активные и совмещенные. Продолжительность активных движений в сумме составляет время цикла. Совмещенные движения происходят одновременно с активными. По циклограмме находят время, приходящееся на все активные вспомогательные движения
(на установку и съем заготовки, подвод и отвод силовых узлов, перемещения транспортного устройства и т.д.). Затем определяют основное технологическое время tо.т равное времени рабочих ходов силовых узлов:
tо.т =tц –tв
Выбирают методы обработки поверхностей и назначают режимы резания. При этом стойкость режущих инструментов должна зависеть от числа инструментов в наладке. Распределяют инструменты по силовым узлам и согласно выбранным режимам резания определяют расчетное основное технологическое время
Если оказалось, что
меньше допускаемого
то, снижая расчетную скорость резания, увеличивают
до
. Если
, то предусматривают выполнение так называемых лимитирующих переходов по частям на нескольких последующих позициях станка или заменяют инструменты на более производительные. Для каждого инструмента определяют осевое усилие, крутящий момент, мощность резания.
После расчета режимов резания и распределения переходов по силовым узлам разрабатывают схемы обработки. Режущие инструменты изображают в положении, соответствующем окончанию обработки. Вместе с инструментом на схеме показывают шпиндель 1 (рис. 14.15), удлинитель 2 (оправку, борштангу, патрон и т.п.), кондукторную втулку 3 и обрабатываемый элемент детали 4. Наносят размеры обрабатываемой поверхности детали, инструментальной наладки, в том числе необходимые для настройки инструмента вне станка.
Согласно чертежу обрабатываемой детали и схемам обработки, проектируют специальные режущие и вспомогательные инструменты, приспособление, шпиндельные коробки, другие оригинальные узлы. С учетом габаритов обрабатываемой детали, силовых факторов процесса резания и схем обработки по каталогам подбирают унифицированные узлы. Разрабатывают общие виды агрегатного станка.
Станочные модули и гибкие системы
Станочные модули и их основные подсистемы
Гибкий производственный модуль (ГПМ) – это единица технологического оборудования для производства изделий произвольной номенклатуры в установленных пределах значений их характеристик, автономно функционирующая, автоматически осуществляющая все функции, связанные с их изготовлением, имеющая возможность встраиваться в гибкую производственную систему.
Станочным модулем будем называть разновидность гибкого производственного модуля, в котором в качестве основной технологической машины используют металлорежущий станок с ЧПУ.
В систему станочного модуля входят: чаще всего один станок с числовым программным управлением, подсистема транспортирования, загрузки и выгрузки изделий, подсистема накопления и смены инструмента, подсистема контроля качества изготовленных деталей, внутренний накопитель заготовок, обеспечивающий запас не менее чем на 8 часов работы. Станочные модули высокого уровня содержат подсистему контроля размерного износа инструмента с соответствующей размерной поднастройкой и подсистему автоматизированной диагностики. Перечисленные подсистемы объединены системой управления, которая строиться по иерархическому принципу, т.е. содержит центральную ЭВМ, осуществляющую функции диспетчирования, реализующую головную управляющую программу и обрабатывающую информацию о состоянии технологического оборудования, которая поступает от управляющих подсистем низшего уровня. Такими подсистемами являются: системы оперативного числового программного управления станками, подсистемы управления переналадкой загрузочных устройств на размер подаваемой заготовки в широком диапазоне размеров, подсистемы программированного обучения промышленных роботов, являющихся составной частью станочного модуля, и т.д.

В линейную компоновку совокупности “станок-работа” вводят два станка с горизонтальной осью вращения шпинделя и робот, работающий в плоской прямоугольной системе координат. В данном случае промышленный робот 1, перемещающийся по балке2, обслуживает станки 3 и 4, забирая заготовки и возвращая обработанные детали на транспортирующее устройство 5.
Параллельная компоновка (б) содержит два станка с горизонтальной осью вращения шпинделя и робот, работающий в цилиндрической системе координат (длина хода, угол поворота). Робот 1 обслуживающий станки 2 и 3, взаимодействуя с транспортирующим устройством 4.
При круговой компоновке робот 1, работающий в цилиндрической системе координат, обслуживает три станка 2-4 с вертикальной осью вращения шпинделя. Робот и станки связаны конвейером 5. Промышленные роботы, работающие в цилиндрической системе координат, могут обслуживать станки как с горизонтальной, так и с вертикальной осью вращения шпинделя.
Применение промышленных роботов современного уровня для обслуживания системы станочного модуля накладывает некоторые ограничения на возможную номенклатуру обрабатываемых деталей. Также детали должны иметь сходные по форме и расположению поверхности, для захвата и базирования, явно выраженные базы и признаки ориентации, позволяющие складирование их около станков в ориентированном виде, сходные признаки, обеспечивающие возможность унификации процессов обработки.
Изложенное выше позволяет сделать вывод, что система станочных модулей не обязательно должны быть укомплектованы промышленными роботами, а могут содержать более простые, но менее универсальные манипуляторы, причём возможна запрограммированная смена этих манипуляторов.
Станочное оборудование, входящее в состав станочного модуля, целесообразно выбирать в рамках существующего станочного парка. Естественно, что ряд типоразмеров станков полностью соответствует требованиям создания станочных модулей, а некоторые требуют модернизации. Во всех случаях системы управления станками требуют стыковки с головной управляющей ЭВМ. Основными требованиями, определяющими возможность включения станков в состав станочного модуля, являются следующие: числовое программное управление циклом работы, механизированный зажим – разжим деталей, автоматическая смена инструмента, механизированный отвод ограждения, механический отвод стружки, автоматический контроль и диагностика.
В качестве вспомогательного оборудования в системе станочного модуля используют тактовые столы, являющиеся одновременно и накопителями заготовок, приемные столы и столы для размещения готовых деталей.
Заготовки доставляют со склада при помощи штабелеров. Корпусные детали закрепляют на спутниках, а детали типа тел вращения заранее загружают в касеты. Подсистема контроля качества деталей представляет собой либо специальную измерительную машину, установленную на отдельной позиции, либо измерительное устройство, встроенное в станок.
Гибкие производственные системы
Гибкой производственной системой (ГПС) ГОСТ 26228-85 называют совокупность в разных сочетаниях оборудования с ЧПУ, робототехнических комплексов, гибких производственных модулей, отдельных единиц технологического оборудования и систем обеспечения их функционирования в автоматическом режиме в течение заданного интервала времени, обладающую свойством автоматизированной переналадки при производстве изделий произвольной номенклатуры в установленных пределах значений их характеристик.
По организационным признакам различают следующие виды ГПС: гибкие автоматизированную линию; гибкий автоматизированный участок; гибкий автоматизированный цех.
Гибкая автоматизированная линия – это ГПС, в которой технологическое оборудование расположено в принятой последовательности технологических операций. Линия легко переналаживается на изготовление деталей другого вида. Она состоит из единиц оборудования с высокой степенью автоматизации. Линия обычно позволяет обрабатывать заготовки деталей, выпускаемых малыми и средними партиями. Линия для механической обработки включает группу высокоавтоматизированных станков, транспортную систему автоматизированной подачи заготовок и инструмента, ЭВМ с системой программного управления и ряд других механизмов.
Гибким автоматизированным участком называется ГПС, функционирующая по технологическому маршруту, в котором предусмотрена возможность изменения последовательности использования технологического оборудования.
Гибким автоматизированным цехом называется ГПС, представляющая собой в различных сочетаниях совокупность гибких автоматизированных линий, гибких автоматизированных участков, роботизированных технологических участков для изготовления изделий заданной номенклатуры. Он представляет собой дальнейшую, более высокую степень развития рабочей машины, в которой элементами, выполняющими рабочие ходы являются уже отдельные гибкие автоматизированные линии. Функции механизмов вспомогательных ходов выполняют сложные системы межлинейного, межучасткового и межстаночного транспортирования заготовок, изделий, собранных узлов, системы автоматического складирования. Функции управления автоматизированным цехом осуществляется уже посредством автоматических и автоматизированных систем управления производством на базе вычислительной техники с использованием центральной ЭВМ, микропроцессорной техники, системы автоматизированного проектирования (САПР). Кроме того, здесь уже широко используются автоматизированные системы управления предприятием (АСУП), автоматизированные системы инструментального обеспечения (АСИО), автоматизированные системы технологической подготовки производства (АСТПП), автоматизированные транспортно-складские системы (АТСС) и т.д.
Понятие гибкости ГПС
Существуют следующие понятия гибкости ГПС:
1. машинная гибкость – лёгкость перестройки на производство других деталей; 2. гибкость процесса – способность производить детали разными способами; 3. маршрутная гибкость – способность продолжать работать при отказе отдельных элементов; 4. Гибкость по объёму – способность экономически выгодно работать при различных объёмах; 5. гибкость работы – возможность изменения порядка операций.
Определяющими являются машинная и маршрутная гибкость.
Гибкие производственные модули (ГПМ)
По принципу автоматизации загрузки и снятия заготовок ГПМ делятся на две группы: со сменными приспособлениями – паллетами и с применением промышленных роботов. Первый тип ГПМ предназначен в основном для обработки корпусных деталей, а второй – для деталей типа тел вращения. Для смены инструмента применяют в обоих случаях (в обоих типах ГПМ) манипуляторы или промышленные роботы (ПР), а так же комплектную замену магазина инструментов.

Одна из наиболее распространённых компоновок ГПМ для обработки корпусных деталей приведена на рис. а. В состав ГПМ входят: 1 – поворотный накопитель полет на восемь мест; 2 – загрузочное приспособление; 3 – многооперационный станок; 4 – стационарный (несъемный) магазин на 16 инструментов; 5 – съёмный магазин; 6 – магазин – накопитель инструмента на четыре диска.
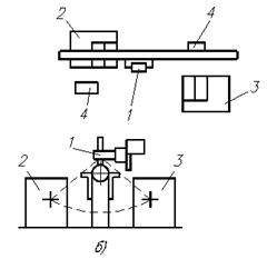
Станочный модуль для обработки тел вращения приведён на рис. б. Круговая компоновка модуля продиктована применением ПР, работающего в цилиндрической системе координат. В систему модуля входят: токарный станок 1, сверлильный станок 5, многооперационный станок 2, контрольная позиция 3, инструментальный магазин 4, позиция загрузки и выгрузки 6. Промышленный робот 7 выполняет роль универсальной транспортной системы внутри модуля и обеспечивает поток деталей и инструментов. Заготовки подаются на позицию 6 в
кассетах, а затем поочерёдно захватываются роботом и передаются на требуемую рабочую позицию. Контроль готовых деталей или полуфабрикатов может осуществляться автоматическим измерительным устройством на любой стадии обработки. Готовые детали передаются роботом на позицию выгрузки. Все агрегаты модуля связаны единой подсистемой управления, построенной по иерархическому принципу, т.е. возможно автономное управление каждым агрегатом с применением микропроцессора и централизованное управление от ЭВМ.
Гибкие станочные системы
Использование гибких станочных систем позволяет повысить производительность, стабилизировать качество обработки, сократить число обслуживающего персонала, уменьшить производственные площади.
По компоновке различают: системы линейной одно- или многорядной компоновки, системы круговой компоновки, системы модульной компоновки.
При линейной компоновке станки устанавливают в одни или несколько рядов, а транспортно-накопительную подсистему располагают параллельно ряду. Для круговой компоновки характерна установка станков вокруг центрального склада-накопителя. Системы модульной компоновки содержат станочные модули из однотипных станков, взаимодействующие с центральной транспортно-накопительной системой с помощью автооператоров или роботов.
По технологическому назначению гибкие станочные системы можно разделить на системы, предназначенные для обработки корпусных деталей, и системы для обработки деталей типа тел вращения.

Станочная система участка для обработки корпусных деталей приведена на рисунке. Она содержит группу многооперационных сверлильно-фрезерно-расточных станков 3 с ЧПУ, разметочную машину 1, контрольно-измерительную машину 4, автоматическую транспортно-накопительную подсистему 5, станок для подготовки баз 2. Система управляется централизовано от ЭВМ.
Станочная система предназначена для обработки корпусных деталей из серого чугуна повторяющихся мелких серий по 10-15 шт, при общей номенклатуре выпуска 30-50 наименований. Основным оборудованием системы являются многооперационные станки, на которых осуществляется черновая и чистовая обработка плоскостей, пазов, уступов, сверление, растачивание, зенкерование отверстий, нарезание резьбы в отверстиях, контурное фрезерование отверстий, приливов, платиков и бобышек. Станки имеют горизонтальный шпиндель с устройством для автоматической смены инструмента и крестовый стол со встроенным поворотным столом. Таким образом возможна обработка корпусов за один установ с четырех сторон несколькими инструментами.
Для проверки поступающих литых заготовок предусмотрена координатно-разметочная машина. Измеряемая заготовка поворачивается на поворотный стол. Измерение и разметка осуществляются сменным ощупывающим и разметочным наконечником. Перемещения наконечника происходят по трём взаимно перпендикулярным координатам.
Для контроля обработанных деталей система оснащена контрольно-измерительной машиной с ЧПУ. На машине в автоматическом режиме могут быть проверены диаметры, геометрическая форма, отклонения от соосности отверстий, межосевые расстояния, расстояния между плоскостями. Результаты измерений могут быть выведены на печать, для составления паспорта на обработанную деталь.
Транспортно-накопительная подсистема предназначена для создания заделов заготовок и готовых деталей и доставке их на рабочие места. Она содержит двух ярусный, двухрядный ячеистый склад, автоматический кран – оператор, накопительные роликовые конвейеры для приема и выдачи заготовок и готовых деталей, систему управления складом с диспетчерским пультом.
Для подготовки баз используют фрезерный станок.
Подсистема управления построена по иерархическому принципу, т.е. каждый агрегат может управляться как от автономного устройства (нижний уровень), так и централизовано от ЭВМ (верхний уровень), что позволяет повысить эффективность и надежность управления.
Для закрепления деталей на столах станков использованы станочные плиты-спутники, на которых монтируется унифицированная крепёжная оснастка.
Дата добавления: 2022-01-07; Просмотров: 729; Нарушение авторских прав?; Мы поможем в написании вашей работы!
Гибкий.ру